Систему капельного полива можно сделать самостоятельно, используя энергию солнца


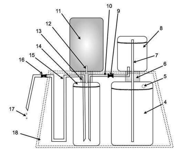
Также частью изобретения стали две емкости с водой которые выполняют роль водонапорной башни, которые позволяют увеличивать обьем воды, циркулирующей в системе.
В качестве соединительных шлангов были использованы трубки, которые используются в больничных капельницах.
По сути, эта система не использует электричества и работает только на солнечном свете, что делает ее очень экономичной в эксплуатации. Она также способствует экономии воды, так как она использует метод капельного орошения, что предотвращает потери этого дефицитного ресурса.
Для ее создания можно использовать пластиковые или стеклянные бутылки, которые в противном случае отправляются в мусор.
Интенсивность прокапывания также можно корректировать при помощи обычного регулятора от капельницы. Также в банки можно добавить питательные вещества, для одновременного удобрения и питания растений.
KondensKompressor — техника солнечного капельного орошения
- Испанский садовник Хортелано Хортамент предложил очень простую и практичную систему капельного полива растений, которую может сделать каждый из обычных пластиковых бутылок. Такой полив поможет уменьшить расход воды при поливе в 10 раз.

Свою систему он назвал KondensKompressor, так как она работает по принципу конденсации и испарения воды на солнце. Влага из почвы собирается на стенках и стекает обратно, создавая круговорот воды. Ночью она выполняет двойную функцию, так как включает в себя определенное количество росы.

Такая система сохраняет огромное количество воды при орошении и выращивании растений, которые регулярно нуждаются в поливе. Считается, что солнечное орошение может уменьшить потребность в воде до 10 раз по сравнению с другими традиционными ирригационными системами.В KondensKompressor вода получается без соли, нитратов и других загрязняющих веществ. Она также может быть использована для опреснения морской воды по аналогичному принципу.Особенно при частых засухах, этот метод может помочь фермерам увеличивать урожайность с меньшим количеством используемых ресурсов.
КАК СДЕЛАТЬ СОЛНЕЧНЫЙ ОРОСИТЕЛЬ KONDENSKOMPRESSOR
Делается такой ороситель из двух пластиковых бутылок: одна 2-х литровая, другая 5-литровая. В меньшей бутылки срезаем вершок, а в большой днище. Главное следить, чтобы в меньшей емкости всегда была вода. Если вас беспокоят загрязнения от пластика, то можете сделать такую же конструкцию, но из стеклянных бутылок. Срез правда будет сделать немного сложнее. 
Такая система орошения идеально подходит для теплых грядок, которые мульчуются соломой или листьями. Мульча прекрасно сохранить влажность почвы и солнечная система орошения получается еще более эффективной.
Пластик доступный материал и такая система орошения и дистилляции может работать даже в пустынных районах при длительных засухах.
ПРИНЦИП РАБОТЫ СОЛНЕЧНОГО ОРОСИТЕЛЯ
Если все сделано правильно, дальше начинают работать законы природы. Солнечные лучи нагревают емкости и вода, испаряясь из литровой фляги, начинает собираться на стенках 5-литровой. Потом она стекает в почву и питает корни ваших растений. 
Все, что вам прийдется делать, это очищать грядку от сорняков и вовремя подливать воду в емкость. 
Как утверждает автор, вы сэкономите воду, время и деньги, а также избегаете использования загрязненной воды, получая в результате чистые овощи.
Эта система, с помощью которой можно не только капельно поливать растения, но и согревать их в прохладную погоду:
Свежие комментарии